自从前年国家放宽生育二胎的政策以来,上海居转户计划生育政策是否放宽成为了大家关注的焦点。二胎能不能申请上海居转户?上海居转户违反计划生育有哪些情况?关于这些问题的答案,已经给大家准备好了,赶紧对照着最新上海居转户计划生育政策!

(上海居转户计划生育取消?官方回应!)
上海居转户计划生育的问题1:现在申请居转户有二胎要准备哪些材料?
居住证积分孙老师答:
现申请人婚生二胎子女,不再因第二胎生育时间不同而划分材料,只需统一填写上海居转户《生育状况承诺书》即可。
上海居转户计划生育的问题2:原来的计生办已经撤销了,怎么开证明?
居住证积分孙老师答:
如果因行政机构改革,原有公章销毁了,则不用原来公章,复印好申请表后,就加盖现有公章 就可以了。
上海居转户违反计划生育情况:
未婚先育:还没有领取结婚证,孩子就已经出生。孩子出生时间,早于领证时间。
未婚生育:孩子已经出生,但是一直没有领结婚证。
不符合当地计划生育政策,涉及超生。
落户工具:上海居转户落户条件自测,赶快点击看看自己能不能落户上海?
自2019年12月30日上海居住证转户口的政策延期之后,不仅仅是申请落户,甚至申请积分人才窗口都已经不需要申请人提供2016年之前的准生证和《再生育审批表》。

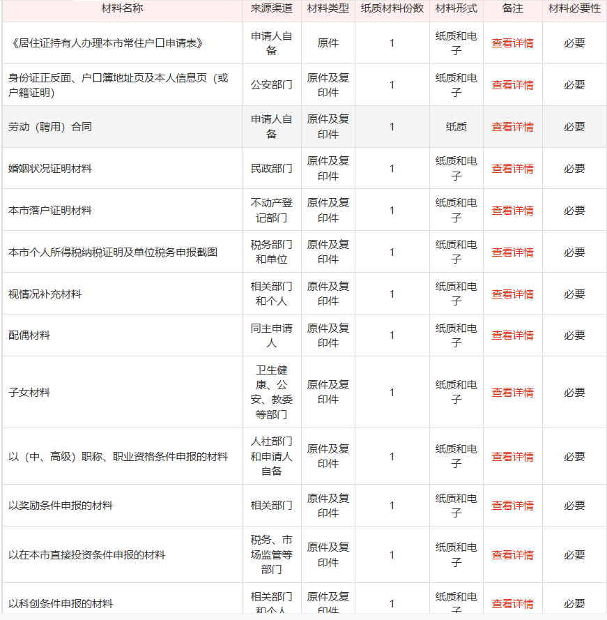
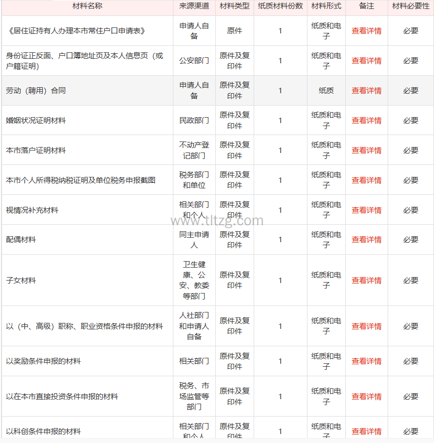
(上海居转户申请材料清单)
一网通办简化了计划生育的审核材料,官方说法:经本市人保部门审核同意的进上海人员,在办理落户本市家庭户、单位集体户或社区公共户时,所需提供的计划生育材料简化情况具体如下:
申请人结婚生两名子女,且第二胎子女系2016年1月1日之前出生的,申请人需提供县级以上计划生育管理部门出具的符合计划生育政策的证明材料,现经更改后,只需提供《生育状况承诺书》。
上海居转户计划生育是否放宽?
但是否意味着落户政策已经对计划生育放开了限制?
并没有!
虽然简化了审核材料,但仍需要提供一份申请人签名的《生育状况承诺书》,承诺自身无违反计划生育的情况。
不要认为只要签了承诺书就可以了,只要申办人填写了无违反计划生育承诺书,人才会根据申办人情况进行审核。
例如:调取核实档案、发核实情况书到申办人户籍地居委/村委核实情况,如出现核实的结果与申办人承诺情况不一致的,将以伪造进行处理!后果很严重!
尤其在迁户环节的时候,如果第二胎出生在2016年之前,公安窗口会让提供相关证明材料。

上海居转户计划生育政策规定:
也有不少朋友咨询我们,为什么计划生育都开放了,上海的落户政策仍然对违反“计生”一票否决?
确实,我们纵观全国,很多一线城市也已不再把计划生育纳入落户考量条件,对于这个问题,在2017年的一次上海市人才政策解读会上,市人社局人力资源开发和市场管理处徐珲副处长这样回应:
“夫妻在2016年前违反计划生育政策的,在居住证积分、居住证转户口上依旧实行一票否决。若申请者2016年1月1日之后生育二胎,则不会影响积分、居转户等问题。”
“放开前的违反计生二胎依然一票否决,老人老办法,新人新办法,以前的违反计生一票否决不会取消。”




